Safírový krycí kameň, leštený z oboch strán
26200
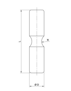
Vysokopresný ložiskový prvok pre jemnú mechaniku
Safírový krycí kameň leštený z oboch strán je kľúčovou súčasťou precíznych ložísk. Spolu s vrtaným kameňom vytvára čapové uloženie súkolesia, kde jeho hlavnou funkciou je zachytávať axiálne tlaky a zabezpečovať hladký a stabilný chod mechanizmu.
🔹 Leštený z oboch strán – pre minimalizáciu trenia a optimálny výkon
🔹 Vysoko odolný safírový materiál – extrémna tvrdosť a dlhá životnosť
🔹 Použitie v ložiskových zostavách – spolu s vrtaným kameňom zaisťuje stabilné uloženie
Produkty v rovnakej kategórii: 16
Presný ložiskový prvok pre jemnú mechaniku
Safírový kameň s valcovým otvorom je nevyhnutnou súčasťou vysokopresných ložísk, kde slúži ako uloženie otáčajúcej sa oceľovej osi prístroja. Ložisko s týmto kameňom zachytáva radiálne aj axiálne zaťaženie, čím zabezpečuje stabilitu a dlhú životnosť mechanizmu.
Tento kameň sa často používa v kombinácii s krycím...
Vysokokvalitná safírová ihla pre presné snímanie zvuku
Obojstranná safírová gramofónová ihla je kľúčovou súčasťou gramofónových prenosiek, kde slúži na presné snímanie zvuku z gramofónových platní. Oproti jednostrannej verzii umožňuje otočenie ihly, čím predlžuje jej životnosť a umožňuje viacnásobné použitie.
🔹 Vysoko odolný safírový hrot – dlhá...
Vysokopresné ložisko pre jemnú mechaniku
Safírový kameň s valcovým otvorom a bez misiek je kľúčovou súčasťou vysokopresných ložísk. Slúži ako uloženie pre otáčajúcu sa oceľovú os, pričom zaisťuje minimálne trenie a extrémnu odolnosť voči opotrebeniu.
Tento kameň je navrhnutý tak, aby absorboval radiálne aj axiálne zaťaženie, čím zabezpečuje plynulý a...
Vysokokvalitná safírová ihla pre presné snímanie zvuku
Jednostranná safírová gramofónová ihla je kľúčovou súčasťou gramofónových prenosiek, kde slúži na presné snímanie zvuku z gramofónových platní. Vďaka vysokej tvrdosti safíru a jeho odolnosti voči opotrebeniu poskytuje dlhú životnosť a čistú reprodukciu zvuku.
Táto ihla sa používa v analógových...
Zafírové a rubínové obdĺžnikové okienka sú určené na použitie v prostrediach s vysokými nárokmi na mechanickú odolnosť, chemickú stálosť a optickú priehľadnosť. Uplatnenie nachádzajú v medicíne, IR a UV optike, ako aj v skeneroch a senzorech.
Safírové pisátko sa používa v registračných prístrojoch pracujúcich so špeciálnou viacvrstvovou fóliou. Hrot pisátka, zakončený veľmi malým polomerom, vytvára presné záznamy kriviek. Vďaka safírovému materiálu je zabezpečená vysoká odolnosť proti opotrebeniu a dlhá životnosť.
Polokulové šošovky sú vyrábané podľa prísnych noriem AFBMA, ktoré zaručujú vynikajúcu presnosť tvaru, rozmerov a povrchovej kvality. Tieto šošovky sú ideálne pre optické a mechanické aplikácie, kde je potrebná vysoká presnosť a spoľahlivosť.
Kľúčová súčasť ložísk pre jemnú mechaniku
Safírový krycí kameň je nevyhnutnou súčasťou precíznych ložísk. Spolu s vrtaným kameňom vytvára čapové uloženie súkolesia, kde jeho hlavnou funkciou je zachytávať axiálne tlaky a zabezpečovať stabilný a presný chod mechanizmu.
Vďaka extrémnej tvrdosti a odolnosti safíru minimalizuje trenie a opotrebenie, čo...
Safírové lôžko je presný komponent používaný v analytických váhach. Na jeho rovinnne vyleštenú plochu dosadá ostrie safírového britu, čím plní funkciu oporného ložiska. Vyznačuje sa extrémnou tvrdosťou, vysokou odolnosťou proti opotrebeniu a minimálnym trením, čo zabezpečuje stabilnú a dlhodobú spoľahlivosť analytických prístrojov.
Safírové guľôčky patria medzi najtvrdšie materiály s tvrdosťou 9 na Mohsovej stupnici. Ich mimoriadna odolnosť proti opotrebovaniu, chemická stabilita a neporézna štruktúra ich predurčujú na presné aplikácie v priemysle a vede.
Najčastejšie sa používajú v ložiskách, ventiloch, čerpadlách, prietokomerových a meracích prístrojoch. V zdravotníctve a optike...
Valve Check je typ spätného ventilu, ktorý využíva safírové sedlo a rubínovú guľôčku na zabezpečenie presného a spoľahlivého riadenia prietoku kvapaliny alebo plynu. Tieto komponenty vynikajú tvrdosťou, nízkym trením a extrémnou chemickou aj tepelnou odolnosťou.
Safírový valček je mimoriadne odolná súčiastka, ktorá sa používa na presné usmerňovanie textilných vlákien. Vďaka extrémne nízkemu treniu, vynikajúcej odolnosti proti opotrebeniu a vysokej chemickej stabilite zabezpečuje plynulý a presný pohyb vlákien bez ich poškodenia. Je ideálny pre aplikácie vyžadujúce minimálny odpor a dlhú životnosť aj v náročných...
Okrúhle priezory zo zafíru alebo rubínu sa používajú v prostrediach, kde je potrebná chemická odolnosť, tvrdosť, tepelná stabilita, široké prenosové spektrum a mechanická pevnosť. Uplatňujú sa v hodinkách, medicínskych a diagnostických prístrojoch, čítačkách čiarových kódov, IR a UV zariadeniach a v iných optických aplikáciách.
Dvojité trysky vyrobené z umelého rubínu a zafíru sú určené na presné smerovanie a rozdelenie prietoku médií. Vďaka dvom výstupným otvorom umožňujú efektívnu distribúciu alebo rozdelenie toku podľa potreby.
Safírový vodič vlákien neleštený sa montuje do špeciálnych vysokorýchlostných vreten. Pri priechode vlákna vodičom počas rotácie dochádza k zvlneniu a krepovaniu vlákna. Vďaka safírovému materiálu ponúka vysokú odolnosť proti opotrebeniu a presnosť pri manipulácii s vláknami v priemyselných aplikáciách.