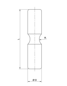
Sapphire Cap Jewel, Polished on Both Sides
26200
High-precision bearing component for fine mechanics
The sapphire cap jewel, polished on both sides, is a key part of precision bearings. Together with a hole jewel, it forms a pivot bearing for gear trains, where its main function is to absorb axial loads and ensure smooth and stable movement of the mechanism.
Thanks to double-sided polishing, it achieves minimal friction, improving efficiency and extending the lifespan of the bearing system. Sapphire provides extreme hardness, wear resistance, and excellent stability during long-term use. This type of jewel is commonly used in watch movements, measuring instruments, and other precision mechanical assemblies, where high accuracy and reliability are essential.
16 other products in the same category:
The sapphire contact tip is a high-precision component used as the final contact point in precision measuring instruments. Thanks to its sapphire material, it is highly wear-resistant, ensuring reliable and long-lasting use. The tip is embedded in a special holder, allowing precise measurements without deformation or errors.
The sapphire stylus is used in recording instruments that work with special multilayer foil. The stylus tip, ending in a very small radius, creates precise curve recordings. Thanks to the sapphire material, it offers high wear resistance and long-lasting performance.
The sapphire cup bearing is a precision component that enables smooth rotation of a steel ball between two bearings in a housing. The specially shaped spherical recess ensures that the ball has a smaller radius than the recess, allowing efficient absorption of axial loads. The fine-polished surface minimizes friction and wear, ensuring an even longer...
Rectangular windows made from sapphire or ruby are ideal for applications that demand chemical resistance, high mechanical strength, and wide spectral transmission. These windows are used in medical and diagnostic equipment, barcode readers, and optical devices operating in UV, IR, and visible spectra.
The sapphire cup bearing is a precision component that enables smooth rotation of a steel ball between two bearings in a housing. The specially shaped spherical recess ensures that the ball has a smaller radius than the recess, allowing efficient absorption of axial loads. Thanks to its high hardness and low friction, it is ideal as a pivot bearing in...
The unpolished sapphire fiber guide is mounted in special high-speed spindles. As the fiber passes through the guide during rotation, it becomes curled and crimped. The sapphire material ensures high wear resistance and precision, making it ideal for industrial fiber processing.
High-quality sapphire needle for precise sound reproduction
The double-sided sapphire gramophone needle is a key component of phonograph cartridges, designed for accurate sound tracking from vinyl records. Thanks to the high hardness of sapphire and its resistance to wear, it provides long-lasting performance and clear audio playback.
Compared to the...
Round glass windows made from sapphire or ruby are used in demanding environments requiring chemical resistance, extreme hardness, thermal stability, wide transmission range, and excellent mechanical strength. Applications include watch glasses, medical and diagnostic devices, barcode readers, IR and UV systems, and other optical technologies.
The sapphire knife edge is a crucial component in analytical balances, where its sharp edge rests on a polished sapphire seat, ensuring highly accurate measurements. With outstanding hardness and low friction, it resists wear and provides long-term stability. It is used in laboratory and industrial applications that demand maximum precision.
The sapphire conical bearing is a specialized bearing in which a steel shaft rotates with a radius smaller than the bearing cone’s apex radius. This design ensures minimal friction and exceptional accuracy, making it ideal for measuring instruments with a moving pointer, such as voltmeters and ammeters. The sapphire’s hardness provides excellent wear...
High-precision bearing for fine mechanics
The sapphire jewel with an olive hole and no cups is a key component of high-precision bearings. It serves as a support for a rotating steel shaft, ensuring minimal friction and extreme wear resistance.
Thanks to the olive hole design, lubrication is optimized, reducing friction and extending the lifespan of the...
Domed-end rods made from sapphire or ruby are designed for demanding applications where durability, dielectric performance, and chemical resistance are critical. These rods are used in dielectric systems, medical and diagnostic devices, and as insulators. Available in different lengths and finishes depending on the intended use.
Fluid nozzles made from synthetic sapphire and ruby offer exceptional durability, precision, and resistance to wear. They are ideal for applications requiring controlled flow of liquids, air, or chemicals in high-performance environments.
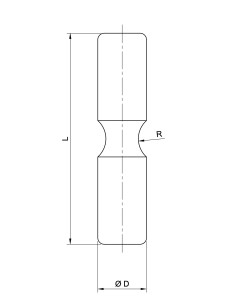
A key component of precision bearings
The sapphire cap (cover) jewel is an essential part of high-precision bearings. Together with a hole jewel, it forms a pivot bearing for gear trains, where its main function is to absorb axial loads and ensure stable and precise movement of the mechanism.
Thanks to the extreme hardness and durability of sapphire, it...
The medium sapphire claw is a precision component that fits into the perforation of film in projection devices. Due to the exceptional hardness of sapphire, it offers excellent wear resistance, ensuring a long service life even with continuous use. The claw enables stable and accurate movement of the film strip, which is essential for proper image...
The unpolished sapphire fiber guide is mounted in special high-speed spindles. As the fiber passes through the guide during rotation, it becomes curled and crimped. The sapphire material ensures high wear resistance and precision, making it ideal for industrial fiber processing.